En Checkline Europe S.L. nos gustaría utilizar cookies y tecnologías similares para optimizar su experiencia de compra, y para ello necesitamos su consentimiento. Al hacer clic en el botón "Aceptar cookies", acepta nuestro uso de cookies y tecnologías similares. Si no está de acuerdo, puede rechazar el uso o personalizar la configuración de las cookies correspondientes haciendo clic en el botón "Configuración de cookies". También tiene la posibilidad de especificar qué cookies en nuestro sitio web deben activarse. Este banner se mostrará hasta que haya seleccionado sus preferencias de cookies. Si decide no utilizar cookies, no usaremos cookies ni tecnologías similares, excepto aquellas esenciales para el correcto funcionamiento del sitio web. Haga clic aquí para consultar nuestra política de privacidad

G1110


El G1110 Fijador de punción está diseñado para evaluar la resistencia a la perforación de películas de plástico y otros materiales hasta 5 kN, de acuerdo con las normas ASTM D5748.

La fijación consta de un bastidor con montaje en el extremo del ojo y cuatro abrazaderas basculantes, un anillo de compresión de la muestra y un émbolo, con montaje en el extremo del ojo.

La amplia altura de la fijación permite alojar materiales con una elongación significativa. Las cuatro abrazaderas de palanca sujetan el anillo de compresión con crestas concéntricas y aseguran eficazmente el material. Además, el émbolo incluido con una sonda esférica estira y perfora la muestra.

Tenga en cuenta que se necesitan adaptadores de ojal en ambos extremos para fijarlo a dinamómetros o sensores de fuerza.

El G1110 es compatible con los medidores de fuerza motorizados F755 y F1505.

Características

  • Asegura los materiales para las pruebas de perforación, según ASTM D5748
  • El amplio espacio para la cabeza admite materiales de gran extensión
  • Incluye fijación y sonda
  • Compatible con los dinamómetros motorizados F755 y F1505
  • Fijación integrada del extremo del ojo para la fijación y la sonda
Kit completo

El dispositivo de punción G1110 se envía como se muestra a la izquierda, e incluye los siguientes accesorios:

  • Montaje de la fijación
  • Anillo de compresión de muestra
  • Pistón de punción
  • 2 Pasadores de anclaje

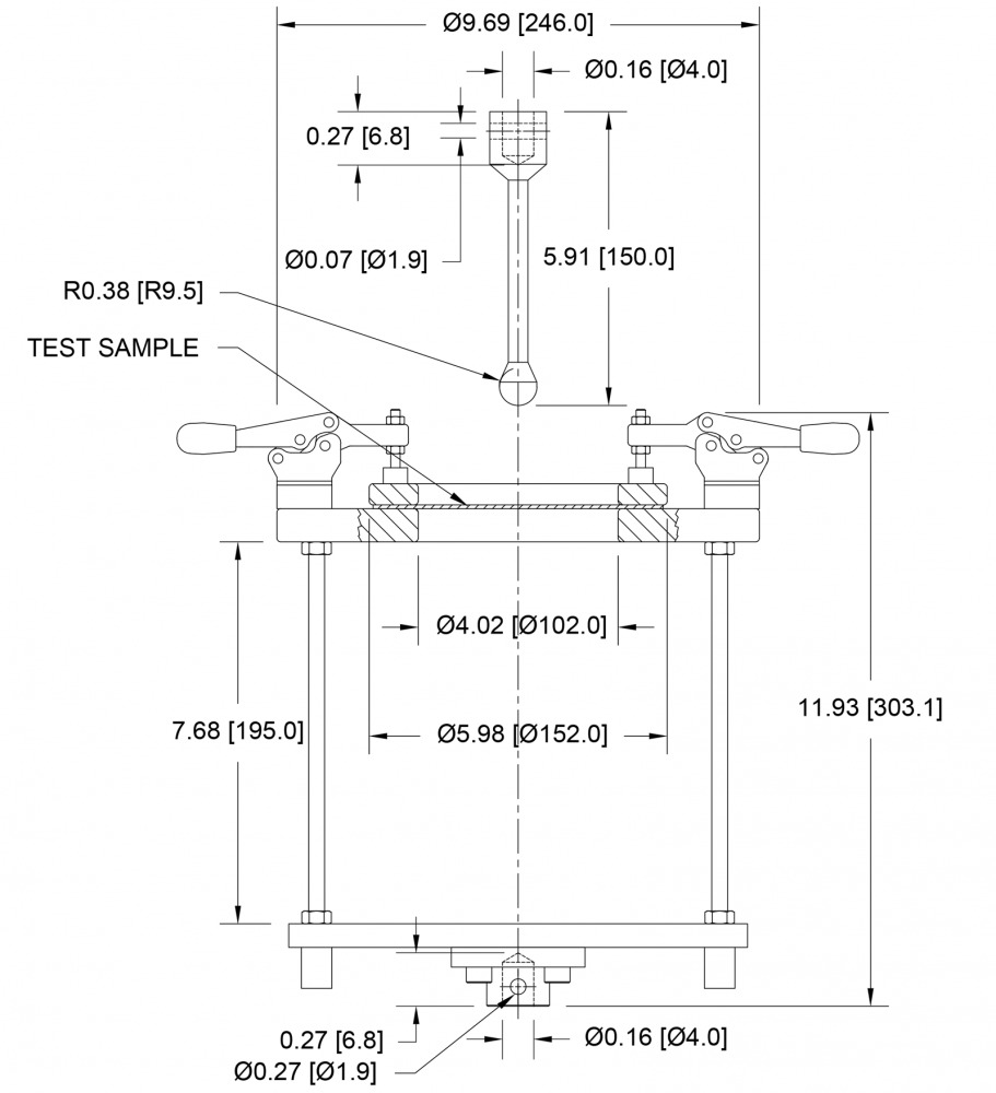
Dimensiones

G1110 Fijación para pinchazos
Dimensiones-G1110 Fijación para pinchazos


Todas las medidas se indican en pulgadas y las medidas métricas en [mm] detrás.

Especificaciones

Capacidad5 kN
PesoAccesorio: 8,6 kg
Sonda: 0,2 kg

Comprar ahora


Contacto 
Solicitar oferta
¡Su solicitud de información ha sido enviada!
Nos pondremos en contacto con usted lo antes posible.
 Información